cabina aerodinamica
- iul.- 2025 -29 iulieCamioane
Noi imagini cu noua generație Scania „scurse” din China
Noua generație Scania a fost surprinsă în China, prezentând un design frontal diferit ce sugerează adaptarea la noile cerințe aerodinamice și de siguranță din UE.
- sept.- 2024 -8 septembrieȘtiri
Va prezenta Scania noua cabină cu parte frontală alungită la IAA 2024?
Va surprinde Scania fanii și clienții lansând noua cabină cu partea frontală alungită la IAA 2024? Surse din cadrul companiei sugerează că nu, dar ar putea fi doar o strategie.
- mai- 2024 -24 maiCamioane
Volvo a început producția de serie a noului FH Aero
Volvo Trucks a dat astăzi startul producției de serie a modelului Volvo FH Aero, la fabrica sa din Tuve (Goteborg).
- mart.- 2024 -25 martieȘtiri
Camioanele cu cabină aerodinamică pot fi folosite în combinații LHV în Olanda
Camioanele cu cabină aerodinamică vor putea fi folosite în curând în Olanda și în combinații LHV, a căror limită de lungime a fost extinsă cu 50 cm.
- 24 martieCamioane
Noul Actros MP6 ar putea veni și cu dormitor extins
Noul Mercedes-Benz Actros MP6, care va fi lansat în acest an, ar putea avea nu doar o parte frontală alungită, ci și un dormitor mai mare.
- ian.- 2024 -18 ianuarieCamioane
Noua cabină Volvo va avea un sistem de camere video
Volvo Trucks a prezentat astăzi al doilea film promoțional pentru noua sa cabină, care confirmă prezența unui sistem de camere video în locul oglinzilor clasice.
- 16 ianuarieCamioane
Volvo Trucks va lansa noua cabină Aero la 29 ianuarie
Volvo Trucks a anunțat astăzi o lansare importantă pentru 29 ianuarie: cel mai probabil este vorba despre noua sa cabină, despre care s-a zvonit că va primi indicativul Aero.
- nov.- 2023 -9 noiembrieCamioane
Scania pregătește o cabină mai aerodinamică
Un camion Scania a fost surprins în teste cu partea frontală camuflată, anunțând că Scania pregătește o cabină cu prelungire aerodinamică.
- oct.- 2023 -17 octombrieCamioane
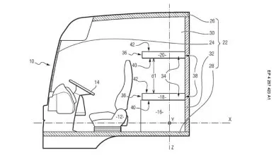
Noi indicii că Volvo pregătește o cabină mai mare
O cerere de patent depusă de Volvo Trucks ne arată o cabină de camion cu dormitor extins, cu spațiu mult mai mare între pat și scaune.
- sept.- 2023 -6 septembrieCamioane
Zvonuri: MAN și Scania pregătesc o cabină mai lungă
Informații neoficiale indică faptul că prima cabină dezvoltată în comun de MAN și Scania va fi una mai lungă, după modelul DAF XG.
- iun.- 2023 -14 iunieCamioane
Modelele Actros diesel vor primi și ele noua cabină Mercedes
Versiunile Actros diesel vor primi și ele noua cabină Mercedes-Benz, anunțată deocamdată de producător doar pentru modelul electric eActros 600.
- 7 iunieCamioane
Volvo va lansa în 2024 noua cabină Aero, mai lungă
Începând din 2024, modelul Volvo FH va fi disponibil și cu o cabină mai lungă, denumită Aero, mai aerodinamică și mai spațioasă.












